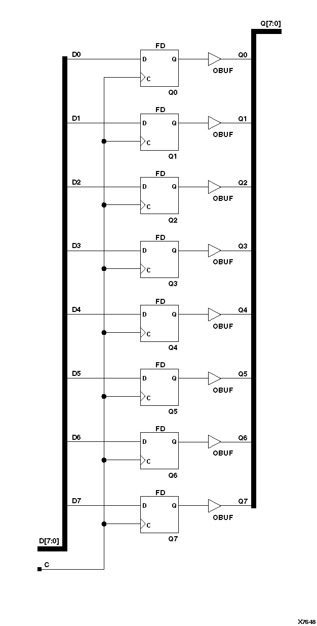
Figure 8.9 OFD8 Implementation XC9000

OFD8 Implementation XC9000 figures/x7648.gif